我要参展
  1. 相机爱好者制作出世界上最小的胶片相机

    前不久,台式铣床制造商Bantam Tools举办了一项竞赛活动,要求参赛者为其设计一款微型胶片照相机,大小为1英寸立方体并要有公司的红公鸡标志。相...

    发表于:2019-07-11 17:20:30

  2. 适马的新重磅来袭:发布一机(全球最小全幅无反)三镜

    适马全球同步发布了新重磅产品——一机(全幅)三镜:号称全球最轻薄小巧全幅无反的“适马 fp"相机、以及SIGMA 14-24mm F2.8...

    发表于:2019-07-11 16:25:57

  3. 小泽秀树:将不断投入相机业务,佳能携G7 X III等新品亮相2019 P&I

    小泽秀树表示:“消费者的需求就是佳能的动力。消费者对相机的需求与日增长,为此佳能也将不断投入相机业务。...

    发表于:2019-07-11 14:01:31

  4. 索尼数码影像产品齐聚P&I SHANGHAI 2019

    FE 35mm F1.8、FE 600mm F4 GM OSS、FE 200-600mm F5.6-6.3 G OSS齐聚展会...

    发表于:2019-07-11 13:46:05

  5. 松下全系无反首次出战P&I展(2019)

    首次参加P&I展,松下就携旗下无反相机全系列产品,以及即将上市的LUMIX S1H,为大家带来了一场令人印象深刻的饕餮盛宴!现场还有众多有趣...

    发表于:2019-07-10 19:35:40

  6. 大光圈 轻量化 索尼FE 35mm F1.8全幅镜头发布

    该镜头在最大F1.8光圈时也拥有出色的画质,即使是画面的边缘也是如此。快速、精准、安静的自动对焦以及强大的自动跟踪性能,使FE 35mm F1.8可...

    发表于:2019-07-09 22:41:01

  7. 专为旅行而生:佳能RF24-240/F4-6.3 IS USM发布

    该镜头作为一款全画幅多功能旅行镜头,拥有10倍光学变焦能力,可胜任多种拍摄主题...

    发表于:2019-07-09 15:44:02

  8. 30张/秒:佳能G5 X Mark II及G7 X Mark III同发布

    佳能G5 X Mark II以及G7 X Mark III采用具备高速响应能力的新1.0”堆栈式CMOS图像感应器以及DIGIC 8影像处理器,可获...

    发表于:2019-07-09 15:30:01

  9. 7月,柯达Ektachrome E100 120中画幅胶卷开始测试

    这是中画幅胶卷摄影师们一直在等的消息,柯达终于打破了关于“以120中画幅格式发行Ektachrome100”的沉默。柯达于2018年推出的35mm ...

    发表于:2019-07-05 11:31:05

  10. 适用全画幅与M4/3机型:松下新固件发布

    适用机型:LUMIX S1R, S1, GH5, GH5S, G9, G95, G85,GX9...

    发表于:2019-07-02 09:06:00

  11. 富士推出“记录声音”的即影即有相机

    继去年正方形的超美玫瑰金相机SQ10后,富士稍早又公开了新机型 “Instax mini LiPlay”。...

    发表于:2019-07-01 11:14:45

  12. 佳能助推粤港澳大湾区影像文化发展:第二届华南相机秀落地深圳

    为满足现场观众在微距、生态等更多场景下的拍摄需求,佳能还设置了微距拍摄区以及远距视界拍摄区。...

    发表于:2019-07-01 08:52:08

  13. 新书推介 |《Adobe Camera Raw 酷炫修图》

    ​本书共有1 3章,主要讲解了运用Camera Raw对照片进行处理的技法。...

    发表于:2019-07-01 08:49:04

  14. 不是PEN-FII:奥林巴斯将在8-9月发布E-M5III

    那些希望看到PEN-FII的人可能要失望了,奥林巴斯没有计划推出后续机型,因为第一代PEN-F没有达到销售目标。...

    发表于:2019-06-28 20:43:38

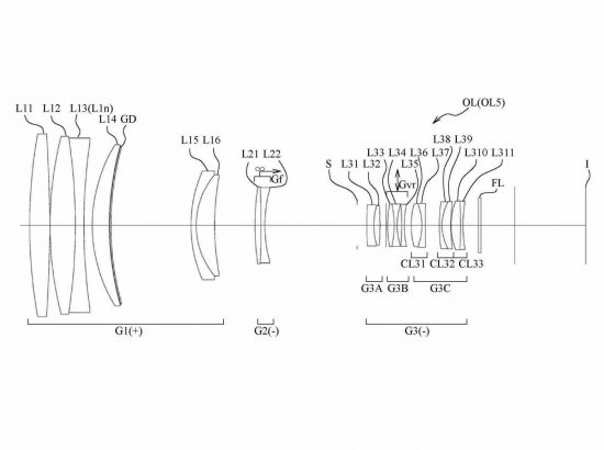
  15. 与RF 28-70/2L组成超级大三元:佳能正在开发新的f/2 RF变焦头

    这款镜头将与已经可推出的佳能RF 28-70mm f / 2L USM配合使用。...

    发表于:2019-06-28 20:37:25

  16. 除35mm F1.8,索尼还要发布两款新相机和一支新镜头

    加上之前的传闻,这意味着索尼将发布两款相机和一支镜头:...

    发表于:2019-06-28 20:34:43

首页上一页1... 202203204205206207208209210211212... 223下一页末页