我要参展
  1. 三阳将发布两款手动RF定焦:MF 14mm f / 2.8 RF和MF 85mm f / 1.4 RF

    不久前,Samyang发布了两款RF镜头的预告片。根据之前的消息,三阳在今年上半年将发8枚镜头。...

    发表于:2019-02-28 11:46:45

  2. 木质手柄、原创顶盖:理光Pentax KP限量版外观图曝光

    这款机器采用了特殊镀膜卡口、木质手柄、原创顶盖等,会在即将开幕的CP+展会上展示...

    发表于:2019-02-28 11:40:32

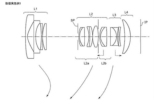
  3. 奥巴将研发F1.0以上超大光圈镜头

    目前奥巴已经有F1.2 Pro,因此新的镜头有可能是F1.0或者更大光圈的...

    发表于:2019-02-28 11:37:00

  4. 理光将开发Pentax KP限量版与D FA ★ 85mm f/1.4

    在相机市场整体萎缩的情况下,开拓专业相机业务成为各大厂家的重要任务。...

    发表于:2019-02-28 10:02:37

  5. microSD Express 为移动设备带来超高速的资料传输性能

    与 SD Express 相同,microSD Express 将利用额外的后排针脚,通过 NVMe 1.3 与 PCIe 3.1 界面与设备相连,...

    发表于:2019-02-28 09:36:03

  6. E卡口福伦达50mm f/1.2 Aspherical镜头将发布

    CP+临近,一支E卡口福伦达50mm f/1.2 Aspherical也即将发布。...

    发表于:2019-02-27 12:03:14

  7. 佳能EF与适马SA转L卡口的看过来:适马MC-21转接环发布

    MC-21转接环为L卡口用户带来了总计29支优秀的适马镜头。适马APS-C镜头在全画幅L卡口机身上支持自动裁切,适马的DC镜头也因此能自由使用在L卡...

    发表于:2019-02-27 11:26:36

  8. 覆盖14至135mm焦段: 适马发布11支L卡口Art镜头

    这批镜头拥有高速自动对焦性能,完全兼容当前的L卡口机身,包括顺畅精准的连续对焦、机身防抖和相机内置像差校正等功能均可正常实现。...

    发表于:2019-02-27 09:54:36

  9. 第49支!索尼发布全画幅G大师镜头FE 135mm F1.8 GM

    2019年4月发售,上市价格为 13,500元人民币。...

    发表于:2019-02-26 23:59:32

  10. 无限自由:索尼无线蓝牙遥控器RMT-P1BT发布

    新的无线遥控器RMT-P1BT通过蓝牙与相机进行连接,无需线缆和接收器即可直接对相机进行控制。...

    发表于:2019-02-26 23:51:02

  11. 2019 SWPA公开组和国家地区专项奖今日公布

    由世界摄影组织举办,享誉国际的索尼世界摄影大赛是全球摄影日程表上最重要的活动之一。这是该奖项与赞助商索尼(Sony)合作的第12个年头,共包括4个奖...

    发表于:2019-02-26 11:03:25

  12. 松下发布全画幅无反相机·见证影像新时代

    松下全画幅无反相机的发布,标志着松下将继续强有力地向专业机型进行转变。未来松下将以LUMIX S和LUMIX G两个系列,在静态图像拍摄和动态视频拍...

    发表于:2019-02-26 10:52:35

  13. 号称接近零畸变:三阳Samyang XP 10mm F3.5发布

    这是一款号称接近零畸变的全画幅数码单反相机镜头。...

    发表于:2019-02-25 17:51:49

  14. 性能强悍:索尼A6400使用与A9相同的BIONZ X处理器

    索尼APS-C和全画幅机身使用相同卡口,A6400使用与A9相同的BIONZ X.图像处理器.........

    发表于:2019-02-25 17:19:18

  15. 索尼A7S3在4K HDR模式下也没有30分钟时长限制

    索尼A7S III原型机也没有30分钟的录制限制,它可以在相机中将4K HDR记录长达2个多小时。...

    发表于:2019-02-25 17:08:10

  16. 天工将发布尼康Z相机转索尼E镜头转接环

    这是一个2mm转接环,它可以与其他Techart Pro自动对焦转接环一起使用。...

    发表于:2019-02-25 17:00:15

首页上一页1... 206207208209210211212213214215下一页末页