我要参展
  1. 第八届UHD高峰论坛暨索尼“超高清杯”颁奖典礼在京举行

    自2014年3月21日首届索尼4K论坛暨“4K杯”颁奖典礼成功举办之后,经历了八年的超高清杯赛,产生了很好的业界反响,有力推动行业4K/8K发展进程...

    发表于:2021-04-08 11:59:18

  2. 佳能推出CJ17e x 6.2B便携式4K广播级变焦镜头

    适用于采用2/3型影像传感器的4K广播级摄像机,支持出色的4K光学性能,同时具备了高清广播镜头的高便携性和可操作性。...

    发表于:2021-04-08 11:53:57

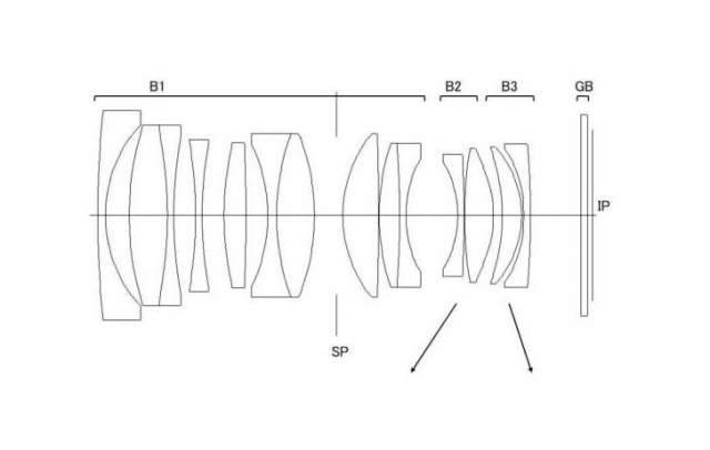
  3. 佳能很快将发布RF100/2.8L MACRO等3支RF镜头

    近日,佳能100mm微距、400mm F2.8、600mm F4等3支RF镜头的相关信息曝光。...

    发表于:2021-04-06 17:00:05

  4. 老蛙拟上调三支镜头售价

    据悉,国产老蛙镜头公司准备于2021年7月1日开始上调三款镜头的售价,以下是详细信息:...

    发表于:2021-04-06 16:53:08

  5. 佳能新款概念相机,监控你的坐姿健康

    这款概念机主要是针对办公室环境使用,通过帮助矫正坐姿,养成良好的工作习惯等,以有效地预防因长时间不正确的工作姿势导致的慢性病。如果你坐了60分钟,P...

    发表于:2021-04-02 10:39:23

  6. 尼康Z系列缤纷春天礼 致美丽的你

    尼康于2021年4月1日至2021年5月5日开启Z系列产品优惠活动,以“#致美丽的你#”为主题,为每一位专业摄影师与摄影爱好者打造春日人像拍摄的缤纷...

    发表于:2021-04-01 14:55:59

  7. 佳能EF70-200/4和EF85/1.2两支旧镜头停产

    佳能似乎正在以相当快的速度停产EF镜头........

    发表于:2021-04-01 14:41:17

  8. 佳能公布2021-2022年度CPS大使阵容名单

    CPS是Canon Professional Services(佳能专业服务)的英文缩写,是佳能面向专业摄影师提供的高品质服务和支持,内容包括但不限...

    发表于:2021-04-01 14:37:03

  9. 理光发布APS-C数码单反PENTAX K-3III

    追求更高的高画质,获得相当于APS-C尺寸有效约2573万像素的高精细图像,新采用无低通滤镜规格的背照型CMOS图像传感器。...

    发表于:2021-04-01 14:34:43

  10. 索尼将在2022年将发布超高像素全幅相机

    去年索尼曾经发布过一款具备了6K视频拍摄能力的1亿像素全画幅传感器.........

    发表于:2021-03-30 17:26:58

  11. 佳能连续18年蝉联全球可换镜数码相机市场份额第一名

    佳能将继续以核心光学技术为基础,不断完善多样化的成像技术,以强化和扩充EOS系列相机、RF/EF系列镜头,开辟出新的影像拍摄方式,以满足日益多样化的...

    发表于:2021-03-29 14:18:56

  12. 这么可爱的礼品你hold住?人气Vlog相机索尼ZV-1买就送!

    3月1日至3月31日,凡是购买索尼ZV-1的玩家,可获赠带可爱小耳朵的装饰毛球一个。...

    发表于:2021-03-29 10:32:02

  13. 三月大促 购索尼RX100 VII赠限量版收纳包

    从3月1日至31日,购买索尼RX100 VII的用户还可免费获赠黑卡Vlog手柄套装收纳包包一个。...

    发表于:2021-03-28 10:27:53

  14. 老蛙33mm f/0.95新镜将于4月下旬发布

    该镜头有E与X卡口版本,如下图:...

    发表于:2021-03-24 15:55:41

  15. 尼康将在未来一年发布12支镜头,包括11支Z卡口新镜

    关于相机和镜头的新产品,新财年至少发布12支镜头。...

    发表于:2021-03-24 15:48:15

  16. OM Digital有可能将加入L卡口联盟

    以下是几个可能的原因:...

    发表于:2021-03-24 15:42:59

首页上一页1... 141142143144145146147148149150151... 214下一页末页