我要参展
  1. Insta360新运动相机Ace Pro外观曝光

    这台运动相机将搭配徕卡镜头以及1/1.3英寸传感器。...

    发表于:2023-11-21 12:16:53

  2. 佳能1亿像素EOS R新机2024年第四季度登场

    EOS R5 II和 EOS R1都会采用堆叠式图像传感器,另外,佳能将为电影机系列新机配备全域快门传感器。...

    发表于:2023-11-21 10:33:13

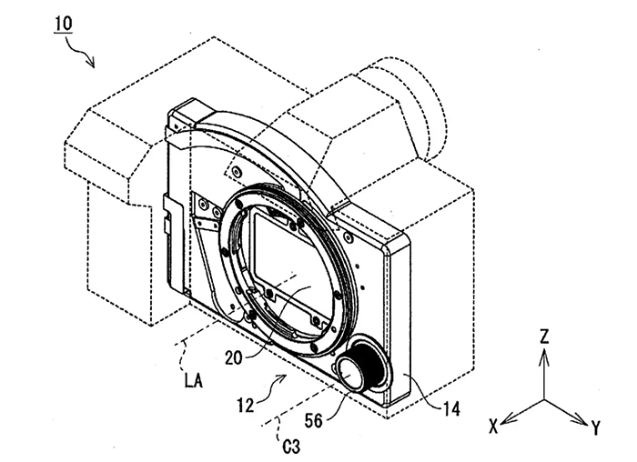
  3. 重大升级:尼康将推出Z 50II和Z 5II

    新的Z 50II将对AF和视频等功能进行大幅度升级,而Z 5II将采用与Z 6II相同的2450万像素全画幅BSI CMOS传感器和Expeed 7...

    发表于:2023-11-20 14:07:04

  4. 尼康复古旁轴相机曝光

    未来的Z s的取景器是采用纯光学部件还是EVF与纯光学部件的混合体?...

    发表于:2023-11-20 13:29:12

  5. NIKKOR迎来90周年庆

    为了纪念这一里程碑,尼康旨在通过多种活动进一步加强和提高NIKKOR品牌的知名度。...

    发表于:2023-11-20 13:11:48

  6. 适马70-200mm F2.8 DG DN OS丨Sports 发布

    采用20 片 15 组(含 6 片 FLD 镜片,2 片 SLD 镜片和 3 片非球面镜片)镜头结构...

    发表于:2023-11-20 12:29:20

  7. 佳能将发布4支L级红圈RF定焦

    佳能将在2024年上半年发布四支新的L红圈RF定焦镜头。...

    发表于:2023-11-20 12:24:11

  8. Adobe将于12月3日起停止在中国大陆官网销售中国摄影计划

    Adobe 官方显示,从 2023 年 12 月 3 日开始,Adobe 将不再在中国大陆官网 adobe.com/cn 销售中国摄影计划。...

    发表于:2023-11-20 09:59:19

  9. 西部数据批量出货24TB CMR HDD, 并推动行业部署SMR技术

    西部数据的企业级HDD解决方案在帮助数据中心客户构建更具成本效益、可扩展性和可持续性的基础架构上扮演着关键角色。...

    发表于:2023-11-17 11:07:38

  10. 索尼下一款新品将是视频相机

    短期内索尼不会推出A7SIV或A1II。...

    发表于:2023-11-14 12:07:44

  11. 欧盟充电新规将影响尼康多数单反销售

    目前符合规定的尼康单反相机仅有D780...

    发表于:2023-11-14 11:55:32

  12. 适马70-200mm FE镜头实物图曝光

    这款镜头采用内变焦,镜身有物理光圈环。...

    发表于:2023-11-14 11:36:46

  13. 索尼将发布A1、A7S3新版升级固件

    增加视频呼吸补偿功能、优化IPTC及FTP工作流、支持C2PA内容真伪验证等。...

    发表于:2023-11-14 10:24:55

  14. 佳能将两款新镜头列入供货紧张名单

    会按订单顺序发货,但交货时间会比平时更长。...

    发表于:2023-11-14 09:15:32

  15. 尼康上海直营店两周年活动欢乐进行中

    有机会参与抽奖,带尼康Z fc套机、尼克尔 Z 26mm f/2.8等超级大礼回家。...

    发表于:2023-11-13 18:02:28

  16. 创新技术点亮未来:适马参展第六届进博会

    第六届中国国际进口博览会于2023年11月5日至10日在国家会展中心(上海)举办。...

    发表于:2023-11-13 16:32:17

首页上一页1... 5455565758596061626364... 220下一页末页