我要参展
  1. 佳能携全方位校园解决方案亮相第七十九届中国教育装备展

    2021年4月23日,第79届中国教育装备展示会在厦门拉开帷幕。...

    发表于:2021-04-25 15:40:03

  2. 【应用案例】探索影像行业新生态,佳能助力拍啦拍啦智能专业自拍屋市场布局

     随着新消费升级的大潮出现,大众对于摄影、摄像的接触习惯及消费习惯正在逐步升级,这对影像行业也带来了新的机遇...

    发表于:2021-04-25 15:13:15

  3. 佳能“佳创空间”智能IT解决方案探索AI影像在更多领域的应用

    为应对国内各行业加速转型及升级的需求,佳能(中国)在2020年10月正式发布了“佳创空间”智能IT解决方案并已经在教育、金融、家居、贸易等领域逐步成...

    发表于:2021-04-25 15:03:36

  4. 索尼春季新品会:新切换台、监视器和IP解决方案亮相

    在4项业务领域,索尼都取得了出色的成绩。索尼超高清产品和技术在2020和2021年央视春晚、国家大剧院演出、篮球世界杯、70周年大阅兵等现场活动中扮...

    发表于:2021-04-23 20:17:03

  5. 第23届China P&E即将启幕,成为首先恢复线下举办的国际专业影像器材博览会

    2021在5月14日至17日,北京展览馆不见不散! ...

    发表于:2021-04-23 09:48:52

  6. 适马确认会发布35mm/1.4无反版新镜头

    配备L以及E卡口两种版本...

    发表于:2021-04-21 14:18:22

  7. 尼康Z7II、Z6II等机型固件将更新

    以下固件某些改进内容:...

    发表于:2021-04-21 14:15:25

  8. 索尼超广角大光圈定焦G大师镜头FE 14mm F1.8 GM发布

    索尼全画幅定焦G大师镜头FE 14mm F1.8 GM将于2021年5月上市,建议零售价为11,300元。...

    发表于:2021-04-20 23:38:37

  9. 徕卡将推出更多最近对焦距离为30cm的M镜头

    新的Leica APO-Summicron-M 35mm f / 2 ASPH镜头的最近对焦距离仅为30厘米...

    发表于:2021-04-20 16:57:21

  10. 奥林巴斯将为三星S22手机改进拍摄能力

    理论上未来的Galaxy S22就会配备奥巴的相机系统,有设计师甚至发布了这款手机的外观渲染图,可以看到它搭载是2亿像素传感器。...

    发表于:2021-04-20 16:54:31

  11. 轻于600克: 一英寸传感器无人机大疆 Air 2S发布

    全新的 DJI Air 2S保持 Air系列折叠设计,在多项硬件升级的同时机身重量轻于 600克,轻小机身更利于用户外出携带。...

    发表于:2021-04-16 16:37:07

  12. 广角新选择: 富士龙XF18mmF1.4 R LM WR发布

    具备27mm(35m等效焦距),最大F1.4光圈,专为X系列无反数码相机而设计。...

    发表于:2021-04-15 14:13:12

  13. 哈苏大师赛 2021 报名开启

    哈苏大师赛 2021 正式启动,即日起面向全球征稿...

    发表于:2021-04-15 12:19:00

  14. 佳能推出百微和大光圈超远摄共三款L级RF镜头

    RF100mm F2.8 L MACRO IS USM灵活运用了RF镜头短后对焦距离的特点,采用了新的浮动方式,实现了最大1.4倍放大倍率,将微小被...

    发表于:2021-04-14 15:10:56

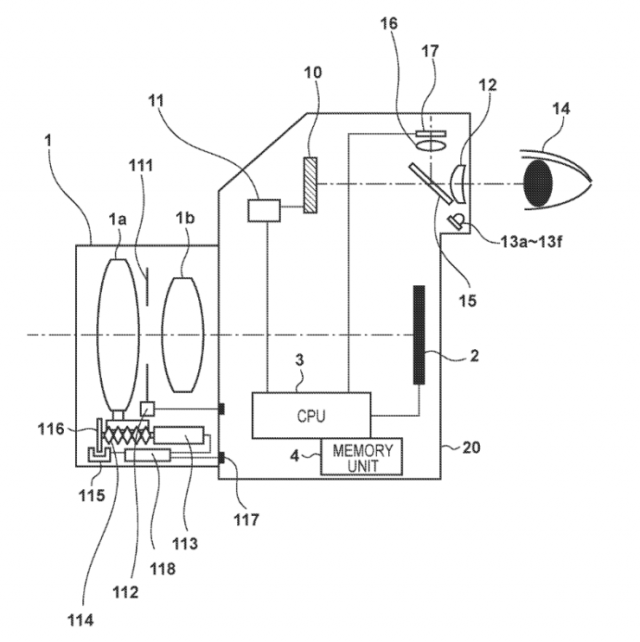
  15. 搭载眼控对焦功能:佳能宣布开发全画幅专微EOS R3

    该相机采用新开发的35mm全画幅背照堆栈式CMOS图像感应器和数字影像处理器DIGIC X,具有高基本性能和可靠性,可满足专业摄影师和高级摄影发烧友...

    发表于:2021-04-14 14:59:57

  16. 腾龙FE150-500和11-20镜头规格曝光

    150-500mm F / 5-6.7 Di III VC VXD”似乎主打紧凑高性能的长焦镜头.........

    发表于:2021-04-13 12:30:40

首页上一页1... 151152153154155156157158159160161... 226下一页末页