我要参展
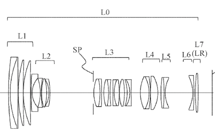
  1. 富士GF20-35mm镜头可能配备F4恒定光圈

    有传闻称它会在2022年发布,让我们拭目以待。...

    发表于:2022-05-30 11:39:09

  2. 富士XF56mm f/1.2 MKII不会在X峰会上发布

    此前已经有消息X峰会不会有高分辨率版 Fujifilm X-H2发布,该产品预计将在 Fujifilm X-H2S 之后推出。...

    发表于:2022-05-30 11:37:29

  3. 并不是复古设计:富士X-H2S将带有PSAM转盘

    正面的 MCS 开关不见了,取而代之的很可能 是FN 按钮。...

    发表于:2022-05-30 11:35:25

  4. 小米与徕卡建立长期战略合作关系

    双方联合研发的首款影像旗舰手机将于今年7月正式发布。...

    发表于:2022-05-30 11:33:14

  5. 聚焦生态保护 尼康为国际生物多样性日助力

    多年来,尼康始终将环保行动与下一代的成长紧密相连,充分发挥尼康多年来积累的经验和资源,启发更多少年儿童关注环境保护,成长为改变未来、塑造未来的新生力...

    发表于:2022-05-30 11:30:49

  6. 天文盛宴即将上演 武仙座τ流星雨光临地球

    5月即将结束,一场宝瓶座流星雨开启了本月的天象奇观之旅,而这场旅行也将以流星雨收尾,为5月画上圆满的句号。31日,我们将迎来本月最后一个重要天象--...

    发表于:2022-05-27 22:41:31

  7. 佳能EOS绝美星空广州站讲座招募

    2022年3月5日,由中摄协影像中国网主办的佳能EOS绝美星空摄影作品征集活动正式上线,本活动不仅吸引了众多星空发烧友的关注,更是为星空摄影爱好者搭...

    发表于:2022-05-27 22:34:37

  8. 佳能青春专微EOS R7及R10与两支RF-S镜头发布

    ​这两款专微相机拥有高画质、轻巧、快速、易用的特点,无论日常生活记录还是自然生态摄影,从静态摄影再到旅行Vlog,即便是新手用户,也能轻松驾驭,收获...

    发表于:2022-05-24 14:30:46

  9. 索尼CineAltaV2赢得2022 NAB两座重磅产品奖项

    CineAltaV 2是索尼于2021年11月15日正式发布的新一代旗舰数字电影摄影机(国外称:VENICE 2)——全画幅8K和6K电影摄影机。...

    发表于:2022-05-24 14:25:59

  10. 8K相机EOS R5和EOS R5 C成功“登顶”珠穆朗玛峰

    这一次,佳能EOS R5与EOS R5 C凭借小巧、稳定、强大的影像性能,不仅以8K视频与影像向世界展示了世界第一高峰的雄伟壮观,也充分显示了人类影...

    发表于:2022-05-24 13:59:30

  11. 2022索尼Vlog挑战赛开启,ZV-E10等你来拿

    向所有Vlogger发出邀请,在这里,可以分享你的热爱,展示你的世界,表达你的个性!...

    发表于:2022-05-23 20:54:25

  12. 索尼A7R V参数曝光,可实现10bit 4:2:2内录

    实现超采样全高清120FPS视频录制.........

    发表于:2022-05-20 13:51:58

  13. 尼康Z9是2022年第一季最畅销全幅专业无反机型

    尼康 Z 9 凭借强大的静态拍摄和专业视频功能在创意行业掀起了风暴...

    发表于:2022-05-20 13:49:19

  14. 专注全画幅:徕卡APS-C无反或将停产

    徕卡CL/TL系列作为L卡口唯一的APS-C系统,似乎正式结束了。...

    发表于:2022-05-20 13:41:27

  15. 富士XF150-600mm镜头将采用内变焦设计

    因此变焦后镜头长度会保持不变,这有利于它的携带和拍摄操控。...

    发表于:2022-05-20 13:39:20

  16. 索尼将发布三款APS-C 镜头规格曝光

    索尼推出超广角和广角定焦是一项相当大的承诺.........

    发表于:2022-05-18 10:32:58

首页上一页1... 112113114115116117118119120121122... 227下一页末页