近日,尼康一项镜头专利正式公开,规格覆盖18mm F1.2、24mm F1.2以及35mm F1.4三个焦段。该专利的申请日期为2023年2月15日,申请人为尼康株式会社,公开编号为P2026049054,发明名称为“光学系统、光学设备以及光学系统的制造方法”。从专利描述来看,此次设计的目标是在保持较高光学性能的前提下,对镜头体积进行有效控制。
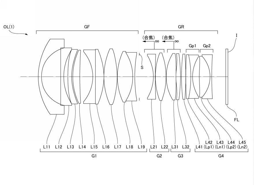
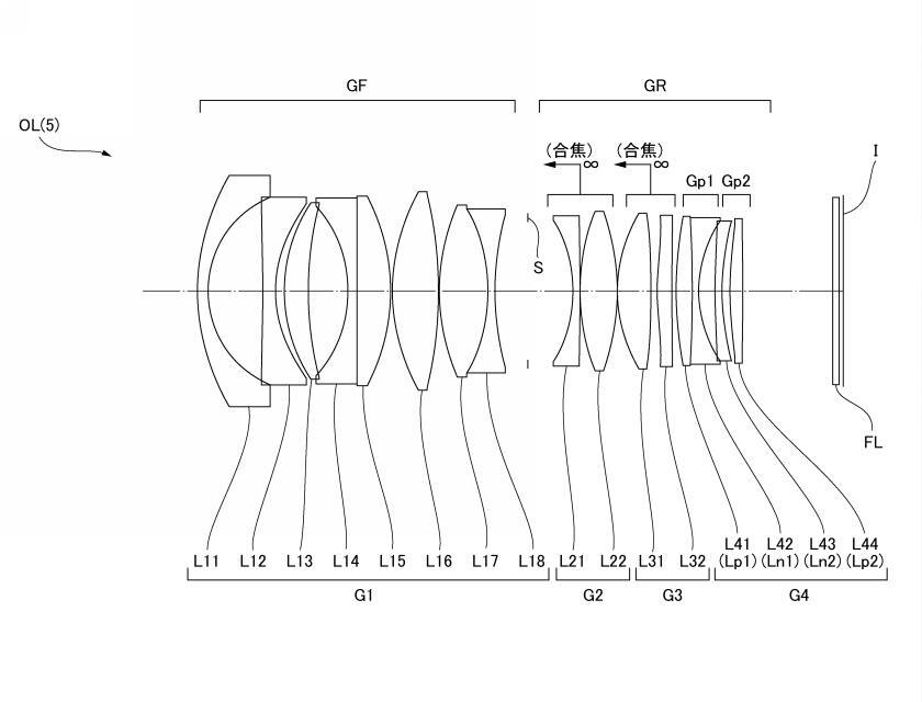
从具体实施例来看,尼康在这份专利中给出了多套高规格设计方案:
实施例1(疑似 24mm F1.2)
焦距:24.74mm
光圈:F1.23
半画角:45.59°
全长:152.37mm
后焦距:12.45mm
这一规格基本对应当前市场中稀缺的24mm F1.2级别超大光圈广角。
实施例2(疑似 18mm F1.2)

焦距:18.54mm
光圈:F1.24
半画角:50.93°
全长:188.27mm
后焦距:12.45mm
如果最终落地,这将是一个极具冲击力的规格——超广角 + F1.2光圈,在现有全画幅无反体系中几乎属于“性能天花板级”存在。
实施例3(疑似 35mm F1.4)
焦距:33.92mm
光圈:F1.46
半画角:32.90°
全长:152.46mm
后焦距:23.23mm
这一方案更接近传统35mm F1.4,但在结构上依然强调体积与性能的平衡。
本网站及其公众号为公益性网络平台,所发图文仅供传播信息、介绍知识、说明问题之用;相关版权归原作者所有,转载请务必注明出处和作者。
稿件一经选用,即视为作者同意本网免费将其使用于本网或与本网有合作关系的非赢利性各类出版物、互联网与手机端媒体及专业学术文库等。
由稿件引起的著作权问题及其法律责任由作者自行承担。
了解更多动态,请扫描二维码,关注我们的微信公众号:
